天眼查信息显示,5月22日,威马汽车科技集团有限公司及其子公司威马汽车科技(四川)有限公司新增三则被执行人信息,执行标的合计1084万元,执行法院均为绵阳市安州区人民法院。

威马汽车科技集团有限公司位于上海市,成立于2012年5月,法定代表人为SHEN HUI(沈晖),注册资本60亿人民币,是一家以从事汽车制造业为主的企业。股东信息显示,该公司由威马智慧出行科技(上海)股份有限公司间接全资持股。至于威马汽车科技(四川)有限公司则位于四川省绵阳市,成立于2018年,注册资本为52000万人民币,实缴资本为13000万人民币,法定代表人为毛琦,是一家以从事科技推广和应用服务业为主的企业。股东信息显示,该公司由绵阳安州投资控股集团有限公司和威马汽车科技集团有限公司共同持股,双方分别持股67.31%和32.69%。
截至发稿前,威马汽车科技集团有限公司面临多起官司,被执行人为4条,被执行总金额为1085.4065万元,开庭公告为178条,其中开庭时间在2023年5月1日至7月20日为55条,案由多为融资租赁合同纠纷、服务/买卖合同纠纷,法律诉讼92条,法院公告15条,司法协助5条。

需要注意的是,该公司于5月13日发生高管人员变更,杜立刚(董事)从主要人员中退出,新增主要人员杨芳(董事)。据了解,在沈晖创办威马之前,威马汽车前身为杜立刚于2012年成立的一家三电系统研发企业,2022年6月1日,威马汽车在港交所提交IPO申请,招股书显示,杜立刚任执行董事。作为威马汽车CFO,杜立刚精通国内外企业财务管理及资本运作,算起来,在威马汽车高管中也算是元老级别人物了。

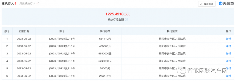
至于威马汽车科技(四川)有限公司,天眼查信息显示,截至发稿前,威马汽车科技(四川)有限公司被执行人6条,被执行总金额为1225.4218万元,开庭公告为5条,法律诉讼3条。

自进入2023年以来,威马汽车的日子一直过得不太平且频繁传出坏消息,包括全员停薪留职、工厂停摆、门店关闭、总部大楼拖欠租金和物业费、售后停滞等等,2月24日,因威马因大幅降薪、社保资金去向不明及延迟薪资发放日期等,威马汽车还遭到劳动监察部门介入调查。面对接踵而至的负面消息,“威马汽车快不行了”的声音也在行业热传,行业认为,威马汽车被一系列负面消息缠身的背后是其资金链紧张导致。

但尽管如此,作为威马汽车董事长的沈晖则是向外界释放好消息,沈晖表示:“威马只要还有一口气,还是可以继续应战的。目前最大的挑战,是黎明前的黑暗怎么度过。”5月4日,沈晖在个人社交媒体平台表示:“一切都在向好!”5月6日,威马在官方微博表示:“具备整车OTA自研能力的厂商不多,威马是为数不多具备此能力的品牌之一。”

沈晖口中的“一切都在向好!”是否味着威马汽车情况有所好转需要官方披露更多信息才能得知,但行业认为,即便威马汽车能“活下去”也很难再活回当年的威马了。
中国能源资讯网


