中国能源资讯网
新能源新闻资讯
政策|项目|技术
首页
热点聚焦
太阳能光伏
光伏原材料及辅料
多晶硅
硅料/硅片
光伏电池组件
光伏组件
太阳能电池
光伏系统工程
太阳能项目
电站EPC
光伏生产设备
光伏逆变器
光热发电
分布式电站
电站零部件
光伏人物
光伏动态
光伏财经
光伏招标
太阳能技术
太阳能政策
风力发电
海上风电
风电产业
风电人物
风电企业
风电政策
风电材料
风电要闻
风电设备
风电财经
风电运维
风电项目
风能资源
风电技术
风机
叶片
动态
技术
储能
储能政策
储热
蓄冷
压缩空气
抽水蓄能
超级电容
电化学储能
储能变流器
储能材料
储能系统
能量管理系统
储能电池
固态电池
液流电池
钠硫电池
铅酸/炭电池
锂电池
电池管理系统
储能项目
发电侧
微电网
用户侧
电网侧
氢能
氢能政策
氢能统计动态
储氢
制氢
加氢站
氢燃料电池
生物质能
生物质能动态
生物质能项目
燃料电池
生物柴油
沼气
燃料乙醇
纤维乙醇
乙醇
生物发电
垃圾发电
交换电
统计动态
新能源汽车政策
充换电财经
充换电政策
车联网技术
充电桩
充电站
换电站
行业人物
电动车电池
新能源汽车
新势力造车
燃料电池汽车
电动客车
电动汽车
电动车配套设备
海洋能
地热能
CDM
文档下载
当前位置:
中国能源资讯网
风力发电
风电人物
正文
金风科技一董事辞职!
2021-04-16
来源:Windaily
分类:
风电人物
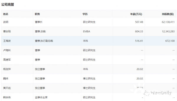
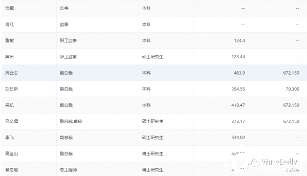
记者获悉,
金风科技
董事董真瑜昨日正式递交书面辞职报告辞职。这也是
金风科技
今年第二位辞职的董事会成员。
以下为具体公告:
董事会成员如下:
未经允许不得转载:
中国能源资讯网
»
金风科技一董事辞职!
分享到
金风科技
风电人事
风电整机商
上一篇
“迈向30·60”|中广核:我们把发展核电的经验也用在新能源发展上
下一篇
通威电池片涨价!多晶电池片上涨7分,单晶电池片上涨2-3分
相关推荐
金风科技完成全球在建最大绿色氢氨醇一体化项目风电机组吊装
金风科技曹志刚:风电行业需以标准建设实现“自律”
金风科技助力全国首个数据中心绿电直连源网荷储一体化项目并网
TOP2!中车株洲所斩获7大区域可利用率指标最优主机商
238座金风科技供货风电场获中电联表彰,占比33%
金风科技16+兆瓦漂浮式风电机组在浙江温州成功下线
国家电投新疆公司与运达股份、金风科技座谈,围绕新能源项目开发等进行交流
650MW!金风科技助力非洲最大风电场全容量并网
李强:提升“中国制造”“中国创造”的全球竞争力!国网、金风、中天等代表参与座谈!
金风科技助力我国离岸最远海上风电场首批机组并网发电
金风科技完成我国首个风机大部件免主吊更换智能设备测试
国内唯一!金风构网型风机通过中国电科院性能检测
强强联合!科士达携手金风科技,共筑储能新典范
290个安装金风机组的风电场入选“无故障风电场”
金风科技盐城大丰试验风电场全场并网
海陵岛国际风能大会上的金风之声
金风科技完成我国离岸最远风电项目首台机组吊装
120000Nm³/h!龙源电力、金风、三维3个制氢项目获备案
资讯搜索
最新资讯
储能规模412.5MW/1650MWh!龙净环保拟投建源网荷储一体化能源站项目
2025-09-15
重磅!两部委力促新能源就近消纳、自用比例不低于60%!2025年10月起,价格、市场参与等配套政策落地!
2025-09-15
极电光能首席科学家M.K.Nazeeruddin教授荣膺“穆斯塔法科研技术奖”
2025-09-15
宁夏银川市公示1GW绿电园区光伏指标,宁夏国运中选
2025-09-15
全球第三大光伏电池龙头英发睿能,将亮相“国能网·第十届新能源产业年会”,角逐“钛能奖·2025年度光伏品牌榜”
2025-09-15
深耕本地化,尚唯斯以高适配逆变器赋能印度光伏市场
2025-09-15
热门标签
台湾大电力
云端系统
换手率
平原风电场项目
插电式公交客车
灰渣排放量
光伏提案
电池革命
龙蟠科技
能源拍卖
日立集团
新势力企业
河北光伏产业发展论坛
生态家园
太阳能配储
联动机制
FIT制度
成都新能源汽车保有量
有机氢载体
有机光伏器件
配电企业
安全管理制度
非光伏制造业
荷兰光伏电站
集中式熔盐储能
3GPP
固废生物质
分布式光伏光伏扶贫光伏项目
新能源补贴退坡
国产轴承